喜讯|宏盛建业再获发明专利
发布日期:2023-01-10
近日,宏盛建业投资集团有限公司《一种建筑用铲灰设备》经过国家知识产权局审查,正式获得发明专利。本次再次获得专利授权,不仅是对宏盛建业知识产权工作及创新能力的肯定,同时也是对宏盛建业的激励,我司将进一步提高研发创新能力,提升专利质量,使知识产权建设工作再上一个台阶。

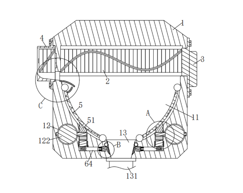
随着凸块间歇地挤压着顶块与推块,使假板在刨腔内上下发生弹性形变,从而使假板表面上的白灰粉末快速地向出料槽口中轴线处方向移动,同时推块挤压着一号通道内的空气,使空气带动着推板在一号通道内移动,并且推板带动着活动板在出料槽口内壁上转动,在复位弹簧和扭簧的作用下,使活动板在出料槽口侧边上反复转动,从而使活动板搅动出 料槽口处的白灰粉末,增加白灰粉末在出料槽口处的流动性,相较现有工作人员通过拆开刨墙机来清理刨腔内堆积的白灰粉末,本技术方案能减少工作人员拆开刨墙机的频率,降低白灰粉末在刨腔内部堆积的情况出现,从而减轻白灰粉末影响工作人员铲灰的工作效率 的问题;将保护罩靠近引导板一侧的内壁设置为弧形倾斜面,且弧形倾斜面与引导板表面相齐平,从而使墙角铲下的白灰粉末沿着引导板移动到刨腔内部,并且假板通过弧形板间歇地与引导板底部相接触,从而使引动板在刨腔内部发生振动,加快了白灰粉末进入刨腔内部的速度,相较现有保护罩只能将墙角铲下的白灰粉末引导到地面上,本技术方案能减少墙角铲下的白灰粉末与地面相接触,而导致白灰粉末在空气中扩散的情况出现,减轻白灰粉末危害工作人员呼吸道的问题。


